当前位置:首页  >  技术文章  >  防爆气象仪安装位置—应安装在避风、向阳、远离热源且无积水的开阔地带

防爆气象仪安装位置—应安装在避风、向阳、远离热源且无积水的开阔地带
更新时间:2026-03-10      阅读:5

防爆气象仪安装位置—应安装在避风、向阳、远离热源且无积水的开阔地带【型号推荐:TH-WFB5,气象环境监测仪器设备生产厂家,云境天合支持商家定制服务,设备选择山东云境天合您放心】防爆气象五参数仪是一种专为易燃易爆环境设计的气象监测设备,能够同时测量并记录温度、湿度、大气压力、风速和风向五个关键气象参数。多参数监测实时监测温度、湿度、大气压力、风速和风向,提供全面的气象数据支持。防爆设计采用特殊防爆外壳和电路设计,符合相关防爆标准(如Exd隔爆标准),确保在易燃易爆环境中安全运行。高精度测量配备高精度传感器,确保测量数据的准确性和可靠性。数据记录与存储支持数据记录和存储功能,可存储大量历史数据,方便后续分析和回顾。远程监控与管理支持远程监控和管理功能,通过网络连接实现数据的实时传输和远程操作。实时报警在监测数据超过预设阈值时,能够实时发出警报,通知相关人员及时采取措施。

8.jpg

一、产品简介

我司作为专业研发生产销售一体化防爆气象传感器的企业,一直致力于微型气象仪和气象环境解决方案推广应用。具有完整的生产链、实力雄厚的技术团队和全面的营销团队,我们研发生产的超声波防爆风速风向仪、防爆五要素微气象仪等气象产品,已广泛应用到化工厂、油库、隧道、矿井等领域,客户遍布全国各地,并取得了良好的社会效益和经济效益。

与传统的微型气象仪相比,我司产品克服了对高精度计时器的需求,避免了因传感器启动延时、解调电路延时、温度变化而造成的测量不准问题。

WFB5型防爆五要素微气象仪创新性地将风速、风向、温度、湿度、大气压力通过一个高集成度结构来实现,可实现户外气象参数24小时连续在线监测,通过数字量通讯接口将五项参数一次性输出给用户。

二、产品特点

1、顶盖隐藏式超声波探头,避免雨雪堆积的干扰,避免自然风遮挡☆

2、原理为发射连续变频超声波信号,通过测量相对相位来检测风速风向☆

3、风速、风向、温度、湿度、大气压力五要素一体式☆

4、采用传感技术,实时测量,无启动风速☆

5、抗干扰能力强,具有看门狗电路,自动复位功能,保证系统稳定运行

6、高集成度,无移动部件,零磨损

7、免维护,无需现场校准

8、采用ASA工程塑料室外应用常年不变色

9、产品设计输出信号标配为RS485通讯接口(MODBUS协议);可选配232、USB、以太网接口,支持数据实时读取☆

10、可选配无线传输模块,最小传输间隔1分钟

11、探头为卡扣式设计,解决了运输、安装过程松动不准的问题☆

三、技术参数

1、风速:测量原理超声波,0~60m/s(±0.1m/s)分辨率0.01m/s;

2、风向:测量原理超声波,0~360°(±2°);分辨率:1°;

3、空气温度:测量原理二极管结电压法,-40-60℃(±0.3℃),分辨率0.01℃;

4、空气湿度:测量原理电容式,0-100%RH(±3%RH),分辨率:0.1%RH;

5、大气压力:测量原理压阻式,300-1100hpa(±0.25%),分辨率0.1hpa;

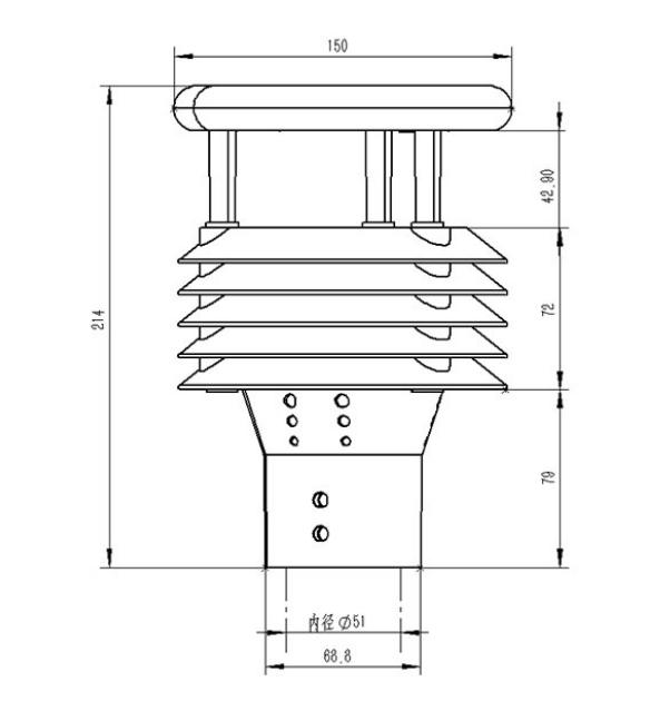
四、产品尺寸图


五、产品结构图


1、控制电路

2、指北箭头

3、超声波探头

4、百叶箱

5、温度、湿度、气压监测位置

6、底部固定法兰

※此产品可选配电子罗盘、GPRS(内置)/GPS(二选一)

六、产品接线定义


VCC:棕色,GND:黑色,485A:绿色,485B:蓝色
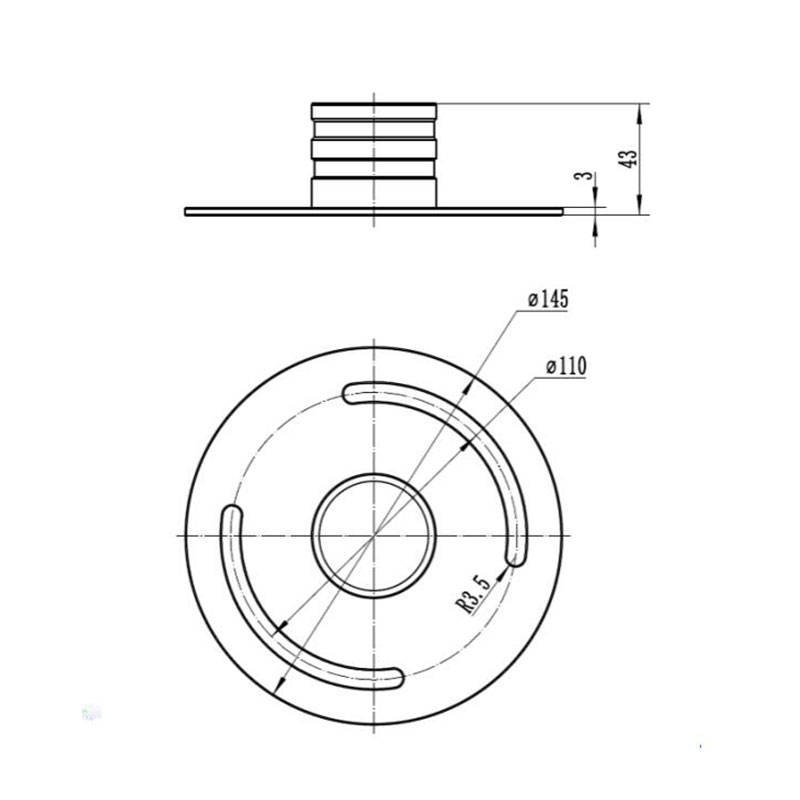
七、法兰盘固定方式

1、微气象仪
2、固定螺钉
3、通信电缆+航插
法兰盘尺寸


电话 询价

产品目录